据说苹果的传闻够媒体们写一年,这说法虽然“站着说话不腰疼”,但也表明了苹果作为全球热门关注的公司,有联系上苹果的技术和产品,都可以传出一大堆的消息。现在最新又有消息称苹果将在2017年带来5.8英寸的OLED屏幕iPhone Pro,另外还有黑科技的液态金属Home键...

苹果要在iPhone上用OLED屏幕已传了好多篇新闻,这次据DigiTimes透露,苹果不仅要配备OLED屏,还会加大尺寸到5.8英寸,有望在2018年甚至2017年登场。这台5.8英寸OLED屏幕的iPhone或为iPhone 7s或者iPhone 8,另有说法将命名为高大上的“iPhone Pro”。按目前的消息来看,三星、LG和JDI都有可能为苹果提供OLED面板。

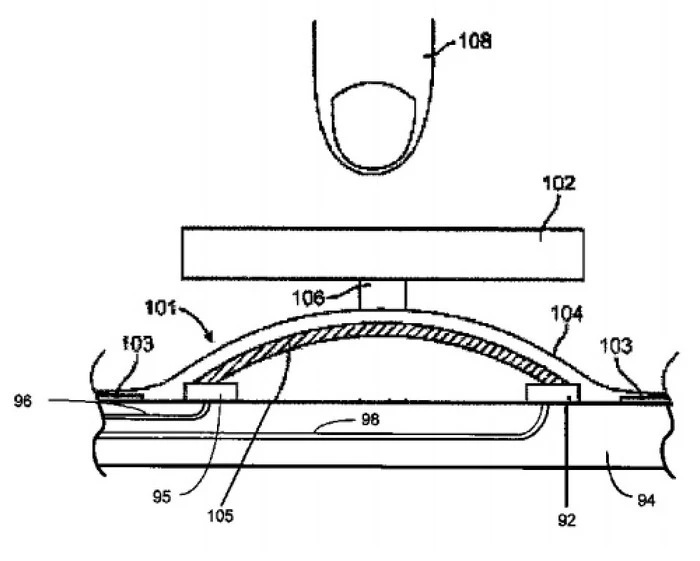
最近还有一份苹果关于液态金属Home键的专利放出,液态金属在按压时会产生形变,在力去掉后又能恢复原有形状,苹果该专利很有可能用于压力感应Home键上,或是“3D Touch Home”。MacRumors认为尽管苹果一直都有研究液态金属材料,但今年的产品上还不会看到这种设计的Home键出现。
苹果在近年的iPhone上并没有与同期Android旗舰手机拉开技术差距,5.8英寸OLED屏iPhone和液态金属压力感应Home键都看起来很有新意,究竟是大家在“传、或、疑”的YY,还是苹果真有其事?还是留待time will tell吧。
关注超能网微信公众号exp2006,原创科技资讯精彩不断。